The PZ47D Series dual seal arrangements feature an elastomer O-ring as the dynamic secondary seal. Reverse balance designs for the primary and mating rings enable ID or OD pressurization, allowing the dual seal to function as either a tandem or double seal. OD pressurization of the outboard seal minimizes tensile stress on components, enhances cooling, and facilitates air venting in vertical installations.
Design:
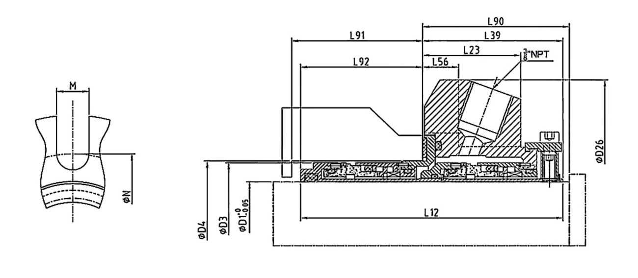
• Reversible seal head design
• External non-clogging wave spring
• Compatible with ANSI B73.1M and ISO 3069 seal chambers
• Primary ring optimized for enhanced reliability
• Outboard seal drive without set screws
• Tangential inlet and outlet pipe connections for sizes below 3.000"/75mm
Here’s a revised version:
• Temperature Range: -20°F to 400°F / -30°C to 205°C
• Pressure Capacity: Up to 21 barg (300 psig) for sizes up to 75mm (3.000"); up to 13 barg (200 psig) for sizes 75mm (3.000") and larger
• Speed: Up to 25 m/s (5,000 fpm)
• Axial Float/End Play Tolerance: 0.13mm (0.005")
• Runout/Squareness Tolerance: 0.05mm (0.002")

| SEAL (Inch) | D1 | D3 | D4 | D26 | L12 | L23 | L39 | L56 | L90 | L91 | L92 | M | N | |
| MN | MAX | |||||||||||||
| 1.000 | 1.000 | 1.564 | 1.625 | 1.889 | 4.000 | 3.705 | 1.353 | 1.954 | 0.531 | 2.000 | 1.876 | 1.751 | 0.525 | 2.805 |
| 1.125 | 1.125 | 1.689 | 1.750 | 2.015 | 4.125 | 3.851 | 1.446 | 2.062 | 0.531 | 2.125 | 1.914 | 1.789 | 0.525 | 2.933 |
| 1.250 | 1.250 | 1.812 | 1.875 | 2.294 | 4.250 | 3.851 | 1.446 | 2.062 | 0.531 | 2.125 | 1.914 | 1.789 | 0.525 | 3.213 |
| 1.375 | 1.375 | 1.939 | 2.000 | 2.421 | 4.375 | 3.851 | 1.446 | 2.062 | 0.531 | 2.125 | 1.914 | 1.789 | 0.525 | 3.338 |
| 1.500 | 1.500 | 2.187 | 2.250 | 2.680 | 4.875 | 3.995 | 1.487 | 2.125 | 0.593 | 2.187 | 1.995 | 1.870 | 0.525 | 3.599 |
| 1.625 | 1.625 | 2.312 | 2.375 | 2.812 | 5.000 | 3.995 | 1.487 | 2.125 | 0.593 | 2.187 | 1.995 | 1.870 | 0.562 | 3.766 |
| 1.750 | 1.750 | 2.406 | 2.480 | 2.918 | 5.250 | 3.995 | 1.487 | 2.125 | 0.593 | 2.187 | 1.995 | 1.870 | 0.562 | 3.875 |
| 1.875 | 1.875 | 2.549 | 2.625 | 2.918 | 5.250 | 3.995 | 1.487 | 2.125 | 0.593 | 2.187 | 1.995 | 1.870 | 0.562 | 3.875 |
| 2.000 | 2.000 | 2.673 | 2.750 | 3.015 | 5.500 | 4.355 | 1.601 | 2.312 | 1.063 | 2.375 | 2.167 | 2.042 | 0.562 | 4.000 |
| 2.125 | 2.125 | 2.798 | 2.875 | 3.360 | 5.859 | 4.355 | 1.601 | 2.312 | 0.593 | 2.375 | 2.167 | 2.042 | 0.687 | 4.468 |
| 2.250 | 2.250 | 2.923 | 3.000 | 3.485 | 6.500 | 4.355 | 1.601 | 2.312 | 0.593 | 2.375 | 2.167 | 2.042 | 0.687 | 4.566 |
| 2.375 | 2.375 | 3.048 | 3.125 | 3.610 | 6.500 | 4.545 | 1.717 | 2.466 | 0.625 | 2.528 | 2.204 | 2.079 | 0.687 | 4.719 |
| 2.500 | 2.500 | 3.301 | 3.375 | 3.891 | 6.750 | 4.545 | 1.717 | 2.563 | 0.625 | 2.625 | 2.107 | 1.982 | 0.687 | 5.000 |
| 2.625 | 2.625 | 3.551 | 3.625 | 4.062 | 6.750 | 4.545 | 1.625 | 2.500 | 0.625 | 2.562 | 2.219 | 2.094 | 0.687 | 5.170 |
| 2.750 | 2.750 | 3.551 | 3.625 | 4.062 | 6.750 | 4.594 | 1.625 | 2.500 | 0.625 | 2.562 | 2.219 | 2.094 | 0.687 | 5.170 |
| 2.875 | 2.875 | 3.614 | 3.750 | 4.186 | 7.000 | 4.594 | 1.725 | 2.500 | 0.625 | 2.562 | 2.219 | 2.094 | 0.687 | 5.312 |
| 3.000 | 3.000 | 3.864 | 4.000 | 4.469 | 7.750 | 4.594 | 1.787 | 2.562 | 0.685 | 2.562 | 2.157 | 2.032 | 0.812 | 5.720 |
| 3.125 | 3.125 | 4.022 | 4.125 | 4.600 | 7.875 | 4.687 | 1.593 | 2.562 | 2.687 | 2.250 | 2.125 | 0.812 | 5.845 | |
| 3.250 | 3.250 | 4.022 | 4.134 | 4.600 | 7.437 | 4.687 | 1.593 | 2.510 | 2.635 | 2.302 | 2.177 | 0.812 | 5.845 | |
| 3.375 | 3.375 | 4.246 | 4.375 | 4.850 | 8.125 | 4.687 | 1.593 | 2.562 | 2.687 | 2.250 | 2.125 | 0.812 | 6.095 | |
| 3.500 | 3.500 | 4.371 | 4.500 | 4.975 | 8.250 | 4.687 | 1.593 | 2.562 | 2.687 | 2.250 | 2.125 | 0.812 | 6.220 | |
| 3.625 | 3.625 | 4.500 | 4.625 | 5.100 | 8.375 | 4.687 | 1.593 | 2.562 | 2.687 | 2.250 | 2.125 | 0.687 | 6.250 | |
| 3.750 | 3.750 | 4.625 | 4.724 | 5.199 | 8.750 | 4.687 | 1.593 | 2.562 | 2.687 | 2.250 | 2.125 | 0.687 | 6.770 | |
| 3.875 | 3.875 | 4.750 | 4.875 | 5.375 | 8.750 | 4.687 | 1.593 | 2.562 | 2.687 | 2.250 | 2.125 | 0.812 | 6.636 | |
| 4.000 | 4.000 | 4.875 | 5.000 | 5.500 | 9.000 | 4.687 | 1.593 | 2.562 | 2.687 | 2.250 | 2.125 | 0.812 | 6.761 | |
| 4.125 | 4.125 | 5.000 | 5.125 | 5.625 | 9.000 | 4.687 | 1.593 | 2.562 | 2.687 | 2.250 | 2.125 | 0.812 | 6.886 | |
| 4.250 | 4.250 | 5.125 | 5.250 | 5.750 | 9.250 | 4.687 | 1.593 | 2.562 | 2.687 | 2.250 | 2.125 | 0.812 | 7.011 | |
| 4.500 | 4.500 | 5.375 | 5.500 | 6.000 | 9.500 | 4.687 | 1.593 | 2.562 | 2.687 | 2.250 | 2.125 | 0.812 | 7.261 | |
| 4.750 | 4.750 | 5.625 | 5.750 | 6.313 | 10.375 | 4.687 | 1.593 | 2.562 | 2.687 | 2.250 | 2.125 | 0.812 | 7.574 | |
| 5.000 | 5.000 | 6.125 | 6.760 | 7.260 | 12.000 | 5.515 | 1.749 | 3.043 | 3.168 | 2.598 | 2.473 | 0.812 | 10.000 | |
| 5.250 | 5.250 | 6.375 | 7.010 | 7.510 | 12.250 | 5.515 | 1.749 | 3.043 | 3.168 | 2.598 | 2.473 | 0.812 | 10.250 | |
| 5.500 | 5.500 | 6.620 | 7.500 | 8.000 | 12.687 | 5.515 | 1.749 | 3.043 | 3.168 | 2.598 | 2.473 | 0.937 | 10.500 | |

| SEAL (Inch) | D1 | D3 | D4 | D26 | L12 | L23 | L39 | L56 | L90 | L91 | L92 | M | N | D74 | |
| MN | MAX | ||||||||||||||
| 1.375 | 1.375 | 1.939 | 2.875 | 3.023 | 5.375 | 3.851 | 1.446 | 2.062 | 0.625 | 2.125 | 1.914 | 1.789 | 0.562 | 4.062 | 3.398 |
| 1.750 | 1.750 | 2.406 | 3.500 | 3.925 | 6.500 | 3.995 | 1.487 | 2.125 | 0.656 | 2.187 | 1.995 | 1.870 | 0.687 | 5.093 | 4.300 |
| 1.875 | 1.875 | 2.549 | 3.625 | 3.734 | 6.500 | 3.995 | 1.487 | 2.125 | 0.656 | 2.187 | 1.995 | 1.870 | 0.687 | 5.093 | 4.109 |
| 2.125 | 2.125 | 2.798 | 3.875 | 4.250 | 7.156 | 4.355 | 1.570 | 2.282 | 0.749 | 2.407 | 2.198 | 2.073 | 0.687 | 5.687 | 4.625 |
| 2.500 | 2.500 | 3.301 | 4.750 | 4.875 | 8.000 | 4.545 | 1.697 | 2.407 | 0.656 | 2.532 | 2.263 | 2.138 | 0.687 | 6.062 | 5.250 |
| 2.625 | 2.625 | 3.551 | 4.625 | 4.740 | 8.000 | 4.594 | 1.788 | 2.500 | 0.749 | 2.562 | 2.219 | 2.094 | 0.687 | 6.062 | 5.115 |
| 2.750 | 2.750 | 3.551 | 4.750 | 4.875 | 8.000 | 4.594 | 1.697 | 2.407 | 0.656 | 2.532 | 2.312 | 2.187 | 0.687 | 6.062 | 5.250 |
1.713.568.5547
1.713.758.0388
21247 FM 529
Cypress, TX 77433
USA
sales@TFSealsUSA.com
Copyrighte 2024 TF Seals All Rights Reserved. Privacy Policy

1.713.568.5547
sales@TFSealsUSA.com